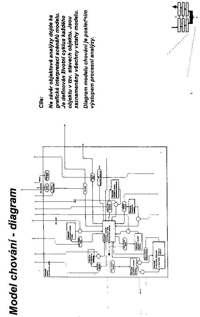
Programování Ostrava    ©  - 1998 / 137  * all  * referát: <<   >> * stránka: <<   >>
Obrázek stránky textu
XWEB © Čevela-V - 2003 * obsah: Ráček-J * web: Ocelková-Š * nahoru * <<   >>